Türkiye Distribütörü
- Açıklamalar
- Görseller
- Broşürler
- Videolar
AVAX D200 Otomatik Düşen Kollu Double Tripod Turnike, geçişlerin kontrol altına alınması için harika bir seçenektir. Şıklıkları ile gözleri kamaştıran bu turnike, ≤ 550 milimetre geçiş aralığına sahiptir. İşletmelerin girş alanlarında geçişleri kontrol etlmek için kullanabilirsiniz. Uygun fiyatlara sahip olmak için sadece bizi aramanız yeterlidir.
AVAX D200 Double Tripod Turnike Teknik Özellikleri
Turnike Gövdesi: Kolları ve gövdesi paslanmaz 304 çeliktir.
Düşen Kol: Elektrik kesintisi yada acil durumlarda otomatik düşen kolu sayesinde hızlı tahliyeyi sağlar
Çalışa Süresi: 7/24 kesintisiz kullanım için için endüstriyel parçalarla imal edilmiştir.
Düşen Kol: Elektrik kesintisi yada acil durumlarda otomatik düşen kolu sayesinde hızlı tahliyeyi sağlar
Çalışa Süresi: 7/24 kesintisiz kullanım için için endüstriyel parçalarla imal edilmiştir.
Turnike Geçiş Aralığı: ≤ 550 milimetredir.
Verim Oran: Turnike sistemleri, 35 p/m verim oranı ile çalışır
Güç Kaynakları: 100 V / AC -240 V / AC
Çalışma Voltaj Seviyesi: 24 V/(ac) voltaj.
Maksimum Güç Tüketimleri: 35 watt güç tüketimi.
Frekansları: 50-60 hz frekans
Çalışma Sıcaklık Değeri: -25 ile +70 dereceler.
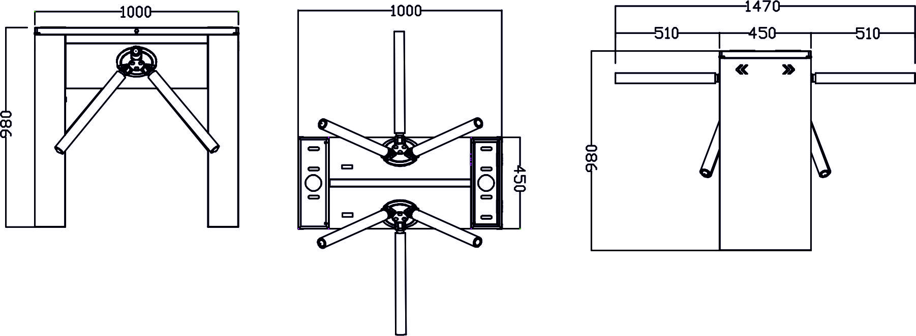
Çubuklar Hariç Boyutu: 1000 mm 450 mm 980 mm
Teknik Çizim

Kullanım Alanları
| Fabrikalar | Havalimanları | Kamu Kurumları | Plazalar | Akıllı Binalar |
| Hastaneler | Lojistik Sahalar | Zincir Mağazalar | Residınslar | Barajlar |
| İş Merkezleri | Eğitim Kurumları | Oteller | Askeri Alanlar | Alışveriş Merkezleri |


| Dosya Adı | İşlem | |
Görmeniz Gereken Diğer Ürünler

